FŐ TULAJDONSÁGOK
Méret
1"
Test és csapvég
Kovácsolt, nikkelezett CW617N sárgaréz az EN 12165 szabvány szerint
Golyó
Kemény krómbevonattal ellátott CW617N sárgaréz az EN 12165 szabvány szerint
Tömítés
Teflon (PTFE)
O-gyűrű
Gázra alkalmas viton
T-kar
Sárga színű tűzzománcozott alumínium
Csavar
Rozsdamentes acél
Többi alkatrész
Európai szabvány szerinti sárgaréz
Menet
EN 10226-1 (ISO 7/1) | EN ISO 228/1
Megengedett üzemi hőmérséklet
-20 °C – +60 °C
Javasolt beépítés
https://interex-waga.hu/greiner-szereles
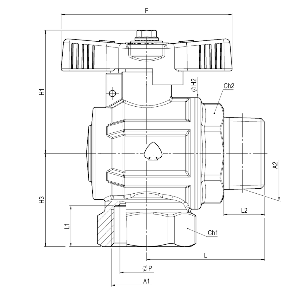
| Névleges átmérő | Cikkszám | Méretek (mm) | PN-MOP | |||||||||||
| A1 | A2 | F | Ch1 | Ch2 | H1 | ØH2 | H3 | L | L1 | L2 | ØP | |||
| 1" | 080675227010000 | Rp1" | R1" | 80 | es.41 | es.41 | 57,5 | 52 | 43,5 | 55,1 | 19,1 | 19,1 | 25 | MOP16 |