FŐ TULAJDONSÁGOK
Közeg
Ivóíz
Belépő nyomástartomány
1,5–10 bar
Minimális belépő nyomás
1,5 bar
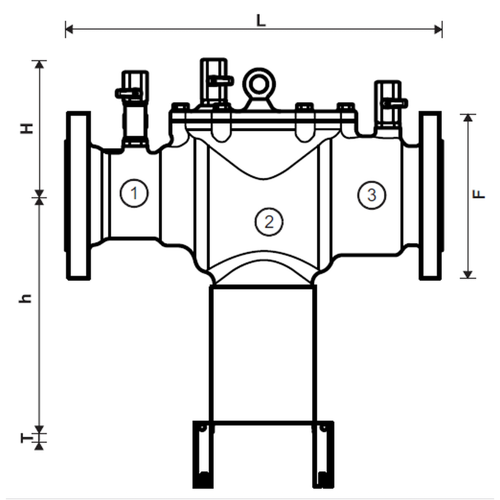
Beépítési helyzet
Vízszintes beépítés, az ürítőszelep lefelé néz
Maximális üzemi közeghőmérséklet
65 °C
Ürítőcsonk mérete
DN 150
Csatlakozási méret
DN 65–200
Jellemzők
Anyagok
| Csatlakozó méret DN | 65 | 80 | 100 | 150 | 200 |
| Súly (kg) | 23,9 | 32,7 | 44,6 | 70,9 | 114,1 |
| Méretek (mm) L | 356 | 440 | 530 | 630 | 763 |
| H | 157 | 172 | 190 | 224 | 259 |
| h | 246 | 275 | 296 | 314 | 346 |
| T | 77 | 77 | 77 | 77 | 77 |
| F (szélesség) | 185 | 200 | 220 | 285 | 340 |
| Névleges térfogatáram Dp = 1,0 bar esetén (m³/h) | 35,8 | 54,3 | 108,0 | 190,9 | 339,3 |
| Ürítési térfogatáram meghibásodás esetén (m³/h) | 35 | 35 | 35 | 35 | 35 |